Thread Forming & Thread Locking Fastener
REMINC is a global licensor of high performance fastener designs. Their licensed manufacturers produce billions of their parts each year, serving industries like automotive, electronics, construction, and appliances.
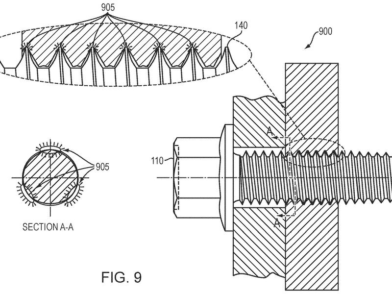
While employed as VP of Innovation & Technology at REMINC, Ed Hebert (now Principal of The Blue Ocean) co-invented and led development of a fastener optimized to increase vibration resistance performance while simultaneously saving costs. This new fastener design—protected by US Patents 11,125,262 and 12,196,241— combines a TRILOBULAR® cross-section and thread forming tip (eliminating the costly hole tapping process) with a secondary thread-form design closer to the head of the fastener that mechanically interlocks with the threads just formed in the nut member (eliminating thread locking chemicals).
This fastener design delivers cost savings by eliminating tapping processes, and provides enhanced mechanical locking without using any environmentally challenging chemical locking agents. This fastener will never cross-thread at insertion, as it forms its own threads at assembly. All of these enhancements translate into millions of dollars in cost savings for automotive manufacturers.
Client: REMINC / CONTI
Location: Newport, Rhode Island
Baar, Switzerland
Category:
Innovation,
Intellectual Property
Visit Website


