US Patent 6,500,073
Method and apparatus to determine golf ball trajectory and flight
Abstract
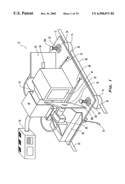
A launch monitor system including a support structure, a first light-reflecting element disposed on this support structure, a lighting unit and an camera unit. A computer receives signals generated by light patterns received by the camera unit and computes a variety of flight characteristics for the object. The system may be moved back and forth to vary the field-of-view of the camera unit. The system also computes and displays object trajectories from the computed flight characteristics which account for the characteristics of the object and the atmospheric conditions.
