US Patent 5,846,141
Golf ball
Abstract
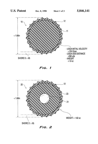
A golf ball having: PA1 a core; and PA1 a cover having an exterior surface with a plurality of dimples; PA1 wherein the core, the cover, and the dimples are correlated with respect to each other such that the golf ball has a coefficient of restitution greater than 0.791 measured at an incoming velocity of 143.8 ft/sec, an initial velocity greater than 255 ft/sec when tested under the conditions set forth in the Initial Velocity rule for golf balls established by the United States Golf Association, and the ball travels less than 280 yards when tested under the conditions set forth in the Overall Distance Standard for golf balls established by the United States.
