US Patent 7,314,587
Method of forming a multilayer golf ball with a thin thermoset outer layer
Abstract
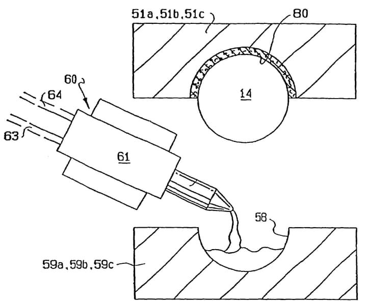
The present invention is directed towards a method of forming a multilayer golf ball which comprises a core, an inner cover layer and an outer cover layer. The steps include forming a golf ball core; forming an inner cover layer around golf ball core with a material having a first shore D hardness; and casting an outer cover layer around inner cover layer and golf ball core with a thermoset material having a second shore D hardness less than the first. The inner cover layer is formed of a material having a shore D hardness that is about 5 to about 50 greater than the shore D hardness of the thermoset material forming the outer cover layer.
