US Patent 7,090,798
Multilayer golf ball with a thin thermoset outer layer
Abstract
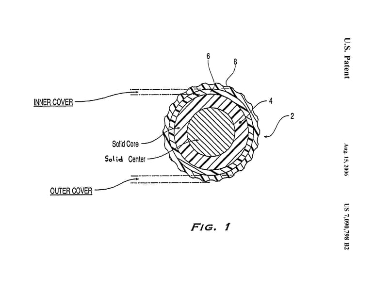
The present invention is directed towards a method of forming a multilayer golf ball which comprises a core, an inner cover layer and an outer cover layer. The steps include forming a golf ball core; molding an inner cover layer around said golf ball core with a material having a first shore D hardness; and casting an outer cover layer around said inner cover layer and golf ball core with a thermoset material having a second shore D hardness less than the first. The core is comprised of a center made from a first rubber based material and an outer layer formed from a second rubber based material. Preferably, the first rubber based material has about 15 to 25 parts of a crosslinking agent per hundred parts of rubber and the second rubber based material has about 20 to 40 parts of a crosslinking agent per hundred parts of rubber.
