US Patent 7,001,954
Thin-layer-covered golf ball with improved velocity
Abstract
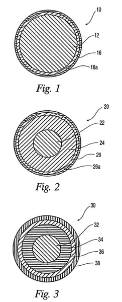
A golf ball comprising a center comprising a polybutadiene having a molecular weight of greater than 200,000 and a resilience index of at least about 40; and a cover layer comprising a polyurethane composition formed from a prepolymer having no greater than 7.5 percent by weight unreacted isocyanate groups.
