US Patent 6,812,317
Wound golf ball having cast polyurethane cover
Abstract
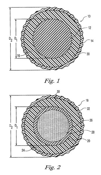
A golf ball and a method of making a golf ball that includes a center formed from a material including polybutadiene and having a high resilience, at least one cover layer formed of a material including polyurethane, and at least one wound layer of a tensioned material windings between the center and the cover. The polyurethane composition is formed from the reaction product of at least a prepolymer of a polyisocyanate and a polyol, and a diamine curing agent. The polybutadiene composition includes a butadiene polymer with a resilience index greater than about 40 and a weight average molecular weight greater than about 200,000. Such golf balls can have a coefficient of restitution that is optimized for low swing speed players. The wound layer of the present invention may be applied to golf balls having liquid or solid centers to achieve desired golf ball characteristics.
