US Patent 6,781,621
Launch monitor system with a calibration fixture and a method for use thereof
Abstract
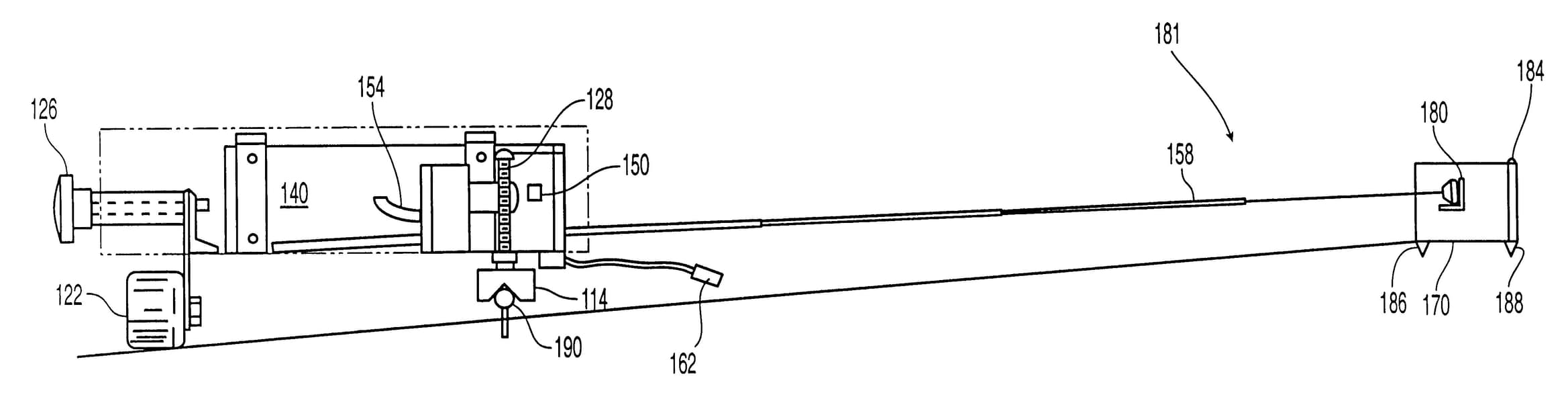
The present invention is directed to a launch monitor system that measures flight characteristics of an object moving in a predetermined field-of-view. The system includes a support structure, a lighting unit, a camera unit disposed on the support structure, and a calibration assembly. The calibration assembly includes a calibration fixture and at least one telescoping member. A first end of the telescoping member is coupled to the support structure and a second end is contactable with or coupled to the fixture. In an extended position of the telescoping member, the calibration fixture is in the field-of-view of the camera unit. In a retracted position, the calibration fixture out of the field-of-view. The calibration fixture further includes contrasting markings. In another embodiment, the system includes a frame and the launch monitor is pivotally suspended from the frame so that it self-levels. The present invention further includes a method of calibrating a launch monitor having a calibration fixture.
